盘点:近年来智能手表CMF设计相关专利技术汇总!
本文盘点汇总近年来智能手表CMF相关专利技术,包括苹果、华为、三星、oppo等,了解一下各大主流品牌厂商的布局动向。

产业的发展离不开CMF(色彩、材料、工艺)
CMF设计军团特别成立了智能手表CMF产业链交流群,旨在汇聚一批专业的产业链上下游企业精英,围绕材料、设计、工艺及发展趋势等做行业交流及资源对接。要加群的朋友们可以加群主“CMFDESIGN008”入群,注意要备注“智能手表”哦~~
随着智能化技术的不断完善及人们的消费水平及需求不断上升,未来智能手表的发展将进入快车道。虽然智能手表的功能性非常重要,包括运动、健康监测等,但其外观CMF设计也不容忽视。伴随着消费者对产品美观度要求的不断提高,未来CMF设计必然将在智能手表市场竞争中起到重要的作用。
本文一起来看一下近年来智能手表CMF相关专利技术,包括苹果、华为、三星、oppo等,了解一下各大主流品牌厂商的布局动向。

一、三星专利:柔性可拉伸、可旋转手表屏幕
该专利名为《包含柔性显示屏的电子设备及其操作方法》,文档长达113页。由专利插图可知,这款特殊的Galaxy Watch智能手表,配备了一款可旋转拉伸且兼容S Pen手写笔的触摸屏,以及一个表冠和屏下摄像头。用户可自由旋转显示方向,而无需从手腕上取下手表,只需拉出表冠并转动,屏幕就会自动向右转。

当屏幕被拉出时,上下框架部分将会分离、半圆形导轨置于其间,以维持整体的时尚和坚固。当完全摊开时,屏幕尺寸会是最紧凑状态下的两倍,单屏图标数量也从标准的12个增加到了24个。在手表内部,三星运用了一套非常巧妙的系统,包含了几个齿轮和一个旋转轴,以确保屏幕不会在拉伸缩放时遇到任何麻烦。


二、苹果专利:柔性面板环绕表盘和表带
目前,苹果正在研发屏幕环绕整体手表的设计以替代传统的四方形表盘。比三星还要夸张。
根据专利文件显示,手表由柔性面板环绕表盘和表带。苹果说明,延伸至表带的面板柔韧性足以支持根据用户手腕尺寸进行调节。柔性显示面板的显示区域可以覆盖智能手表表盘和表带上的更多空间。
且根据文件,用于苹果手表的柔性面板可以由四角形装的多个面板组成。电池和处理器等零部件可以放置于屏幕的背面,可以最小化边框,甚至完全取消边框。苹果认为,边框可以根据审美进行设计。

可以看到,苹果这是将屏极致化的设计与发展,未来概念。

三、华为专利:弧形表盘+柔性屏
根据专利摘要信息显示,该项外观专利主要用于计时、计步、体征数据测量及通讯,而设计要点在于产品的形状。
从专利文件上的相关图片来看,该款手表采用了弧形表壳设计,屏幕为弧形柔性屏,能够更好地贴合用户手腕。手表右侧配有一颗实体按键,底部用以检测心率等身体数据的传感器。


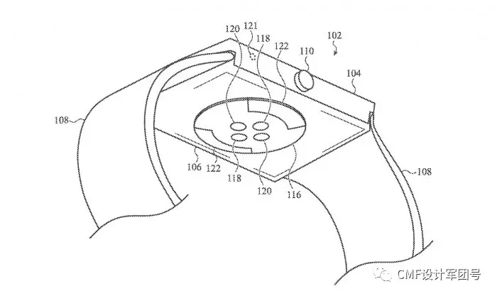
四、三星专利:卷轴屏幕+表盘扩大40%
带有可伸缩显示屏的智能手表,设计理念非常超前。这款智能手表将采用常规的圆形表盘设计,如果想增大屏幕,可以将其垂直拉伸,拉开手表表盘将变成椭圆形,面积也将大大增加(大约增加40%)。
手表将由两个半圆形组成,可以从中间拉伸开来。这种设计成功解决了智能手表屏幕小的问题。

另外,专利图片显示,三星这款智能手表专利还有一个有趣的功能。当手表被拉伸开来时,会在手表的正中间露出一个摄像头。这意味着该摄像头将是一个屏下摄像头,这个摄像头能够拍摄照片和视频。

五、苹果专利:手表的平边设计
这份名为"带玻璃外壳的可穿戴电子设备"新专利申请显示,苹果至少已经考虑为Apple Watch采用这种设计风格。这份专利申请由苹果公司在2020年5月提交,其28张图纸中的22张至少与之前权利要求中的部分内容相符。

其余的图纸要么是组件,要么是特写的横截面,可以适用于方形的和更多的弧形底盘。专利图常常是纯粹的说明性的,有时只是草图,所以在任何专利申请中最重要的是文字。在这里,苹果对手表的底盘,或者说它所说的"外壳"做了更多的说明。

六、OPPO专利:多款不同形态的表盘产品设计
这是OPPO多款不同形态的表盘产品设计专利,专利中共展示了3种不同类型的智能手表。其中圆形表盘设计更加圆润,像一块鹅卵石,相信佩戴起来也更舒适。

第一个设计与已经推出的OPPO手表显示出许多相似之处。这款智能手表具有精美的圆形显示屏和矩形外壳。后部内置了许多传感器,侧面装有必要的控制按钮。

第二个模型显示出与第一个设计的许多相似之处。但是这次选择了方形设计的手表。屏幕表面比第一个模型略小,不是曲面显示器。这可能是更一个便宜的模型。后部的传感器似乎与第一个模型相同。

第三种型号是一种圆形手表,在所有侧面均具有圆形屏幕,这也称为3D曲面显示器。这使手表看起来非常独特且具有未来感。这种设计可能会吸引许多女性用户,也可以使用不同类型的表带制作酷男装。另一个特点是表冠位于表的右侧,这在矩形或正方形模型中不可见。一个物理按钮位于数字表冠的正上方。

七、苹果专利:金属表面的氧化物涂层
这个专利详细解释了薄涂层如何能显著减少设备上的指纹出现。在一些实施案例中,氧化物涂层足够厚,以增加入射光的光程差,从而将指纹的任何推理着色降低到非可见的水平。
氧化物涂层具有非均匀的厚度,从而改变光从氧化物涂层的界面上反射的方式,从而减少或消除任何薄膜干扰着色。涂层可用于在iPad、iPhone、Apple Watch和MacBook等多种苹果设备上“形成耐用和美观的表面处理”。

苹果指出,氧化物涂层可用于包括“铝、铝合金、钢、镁、镁合金、锆或锆合金”在内的表面,尽管它主要是针对钛或钛合金开发的。


八、一加智能手表设计专利
这款获得专利的智能手表采用了圆形表盘设计。包括两款,一款是 “标准”手表,另一款是 “运动”手表。虽然这两款手表都采用了圆形设计,但两者之间还是有一些明显的区别。运动版采用了卡扣式表链,而普通版的表链则显得十分光滑。


两款手表的侧面都有两个按钮,背面有四个传感器,可能是用来测量血压、血氧含量、心率等。我们还可以在背面发现两个针脚,用户可以给手表充电。
九、格力智能手表外观设计专利
从专利附图来看,格力智能手表采用方形屏幕设计,屏幕四边由塑料材质包裹,加上橡胶表带,看来是定位户外使用,屏幕顶端的红点应该是摄像头,可以用来拍照摄像,以及视频通话。手表背部采用触电式充电方案,看不到心率检测模块。根据专利摘要显示,功能上还有即时通讯、精准定位、紧急呼救、时间闹铃、拍照摄像、学习教育、多媒体等。
从材料应用及功能性上来看,是儿童智能手表的概率可能更大。

十、Realme智能手表外观设计专利
外观采用与华为WATCH FIT类似的长方形的表盘设计,并且表框采用的是金属材质。该智能手表的中框、边框和后盖等都补满了天线,这些天线能够接收各个频段的信号,最终把用户在户外运动、佩戴、手握和极端天气下,信号所受到的影响降到最低,保证用户在任何情况下都能够正常的接收到网络信号。























































































