电力监控系统的设计
介绍了电力监控系统的设计,包含常见的应用场景,网络架构,及可接入的各种监控设备。
电力监控系统的设计
摘要: 本文介绍了电力监控系统的设计,包含常见的应用场景,网络架构,及可接入的各种监控设备。
关键词: 电力监控系统的设计;配电房;QDL9000;电力监控系统;组态软件;电力运维平台。
概述
随着管理人员的学历提高、计算机技术的进步、电力二次设备的降价,电力监控系统的价格也由原来的高不可及变成标配产品。越来越多的新建项目的供配电工程对电力监控系统做了相应的投资,一些投运已久的项目也做了相应的电力监控系统的智能化改造。
随着电力监控系统的普及,其由原来的只监控10kV以上的设备逐步涵盖到变压器、低压回路、直流屏、发电机等传统设备,并延伸至变电所内环境、门禁、视频、机器人巡检等领域,网络架构也由本地监控扩展到物联网范畴。
电力监控系统技术的进步、监控范围的扩大、传输的方式增多,功能由传统的四遥功能扩展到安防监控、消防报警、机器人巡检等实用性功能,极大的增强了供配电运行的安全性,降低了管理人员的劳动强度,做到了有据可查、报警及时。
下面从几个方面详细介绍电力监控系统的主要功能。
单变电所电力监控系统的设计
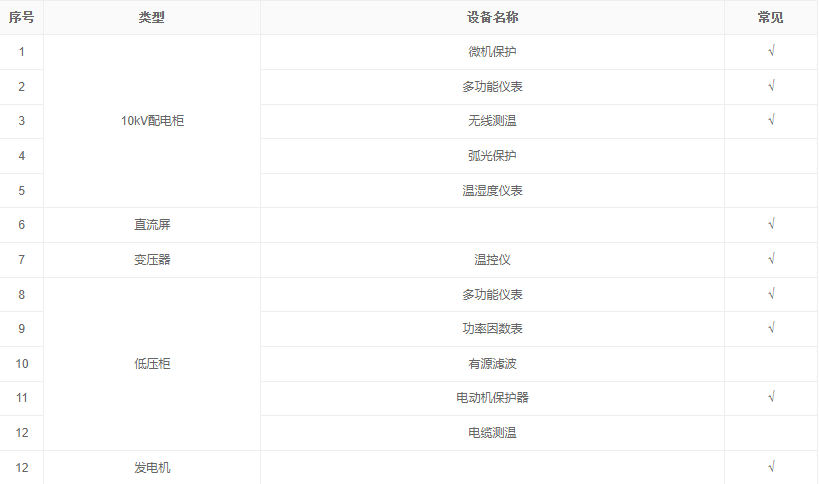
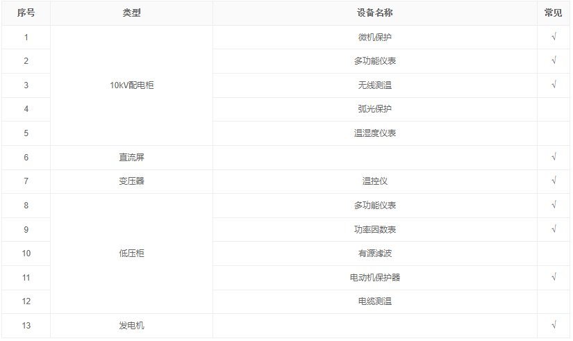
1.接入设备介绍
单变电所的通常是指只有1个变电所,包含了10kV配电柜、直流屏、变压器、低压出线柜、发电机等。接入的设备如下表所示。
2.电力监控系统的设计清单典型的配置清单如下表所示。
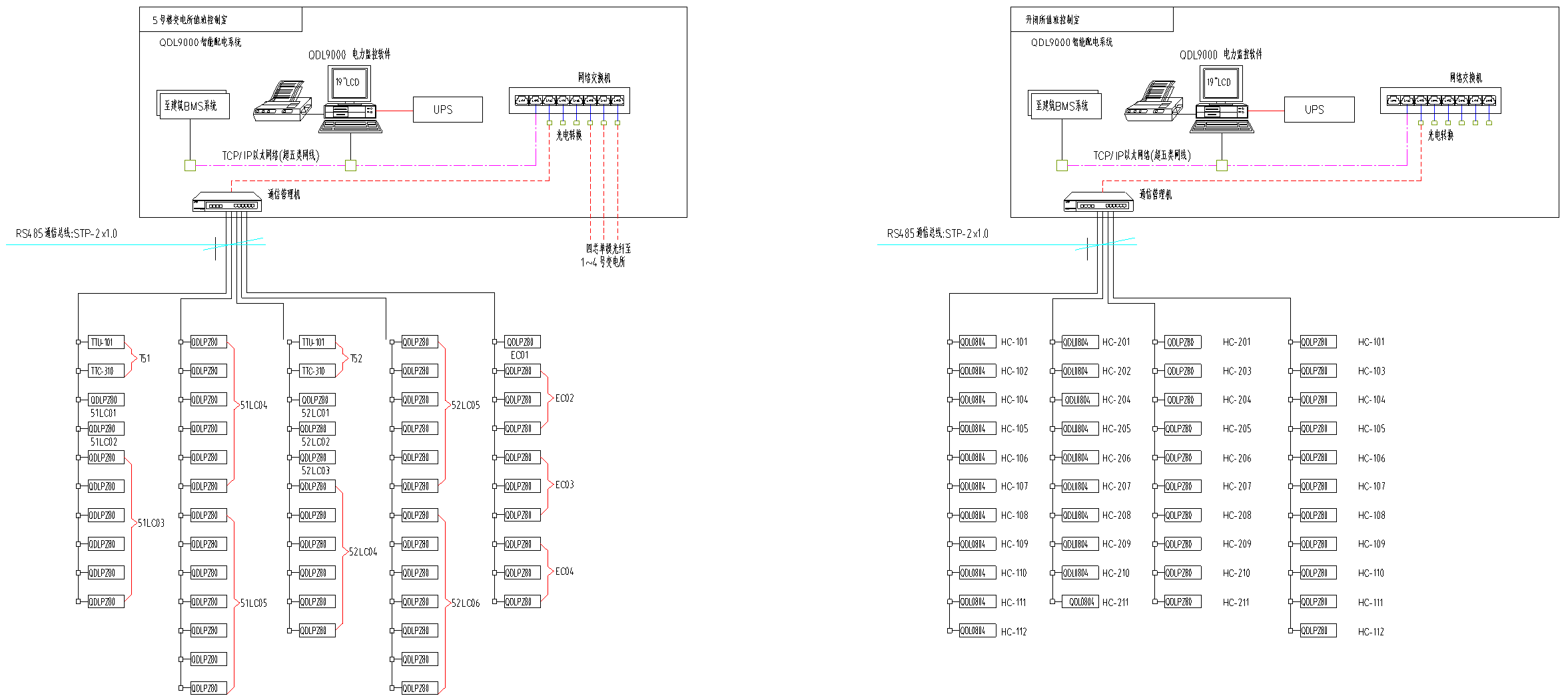
3.电力监控系统的设计典型网络结构典型的网路结构图如下图所示(此方案采用的是双机备份,也可以采用1台工作站)。
4.某专业医院电力监控系统的设计
设计图纸如下图所示。
说明:
(1)电力自动化监控系统遵循少人值班的原则,具有登陆操作、锁机操作、运行/编辑切换操作、打开文件列表操作、查询等多种功能,同时能够与其他系统如BAS、DCS等系统进行通信。系统采用了电力监控服务器和工程师工作站模式。
(2)监控系统采用分层分布式结构。现场设备与通讯管理机之间的通信采用屏蔽双绞线,通讯管理机放置于每个变电站配电室内,通讯管理机与以太网交换机之间采用以太网通信。
(3)本系统须由专业公司深化设计后具体实施,深化图纸平面图须与原有管线综合考虑布置,系统图须与变配电专业厂家统筹考虑,以便柜体内设备元器件的合理布置。
5.某房地产小区电力监控系统的设计
设计图纸如下图所示。
某房地产小区电力监控系统的设计说明
本工程专用中心配电室内各进、出线回路采用微机保护测控装置,实现各回路保护及电气量采集。变配电房内各低压进出线回路采用电力网络仪表以采集各回路电压、电流、电度量等数据。本工程监控范围包括变配电房所有智能设备,在监控值班室内设置后台监控系统,后台监控系统采用配电综合自动化系统软件,包括前置通讯管理机和后台监控机,各配电室内智能设备均通过RS-485通讯方式与前置通讯管理机通讯。
后台监控系统功能说明:
(1)数据采集:系统实时采集间隔层上传的模拟量(如电压、电流、功率、频率、温度等)、遥信(如开关位置、刀闸位置、手车位置等)、电度计量、保护信号及综合自动化等信息。发送各种数据信息及控制命令。
(2)数据处理:系统采集数据后,立即进行数据处理。包括模拟量数据处理(YC)、开关量处理(YX)。
(3)计算功能:在计算机监控系统中除大量的实际遥测数据点外,还同样有强大的计算功能,包括:限值计算、平衡率计算、累加计算、功率因素计算、统计计算等。
(4)遥控操作:实时对进线以及各出线的断路器遥控分、合闸操作。
(5)图形界面:提供强大的设备图形编辑软件、画面编辑软件、画面管理软件,提供多种数值显示手段,如:数值显示盘表显示、棒图显示、曲线显示,并可根据数值状态和系统状态由用户根据需要和习惯自行定义。
(6)报表子系统:提供强大的报表功能,采用Excel风格的电子表格方式组织、显示报表,支持时、日、月、年统计及特殊统计等各种表格,报表统计的数据可以按照用户要求选择,包括电流、电压、电度、运行时间、开关跳闸次数等,并支持用户自主编辑报表显示界面。
(7)告警子系统:进线以及各出线发生遥测数值越限报警,开关变位报警,事故报警,工况报警,系统能自动产生一系列报警信息,报警方式支持图形报警,文字报警,语音报警,打印报警等多种报警方式。
(8)安全子系统:系统提供统一的用户权限管理工具,根据需要赋予用户特定权限,根据权限做相应的操作.可设立操作员密码,系统管理员密码等多重密码,权责分明,避免了误操作。
(9)变配电监控系统接入能源管理系统,能通过通讯管理单元把各种数据信号上传到能源管理系统。
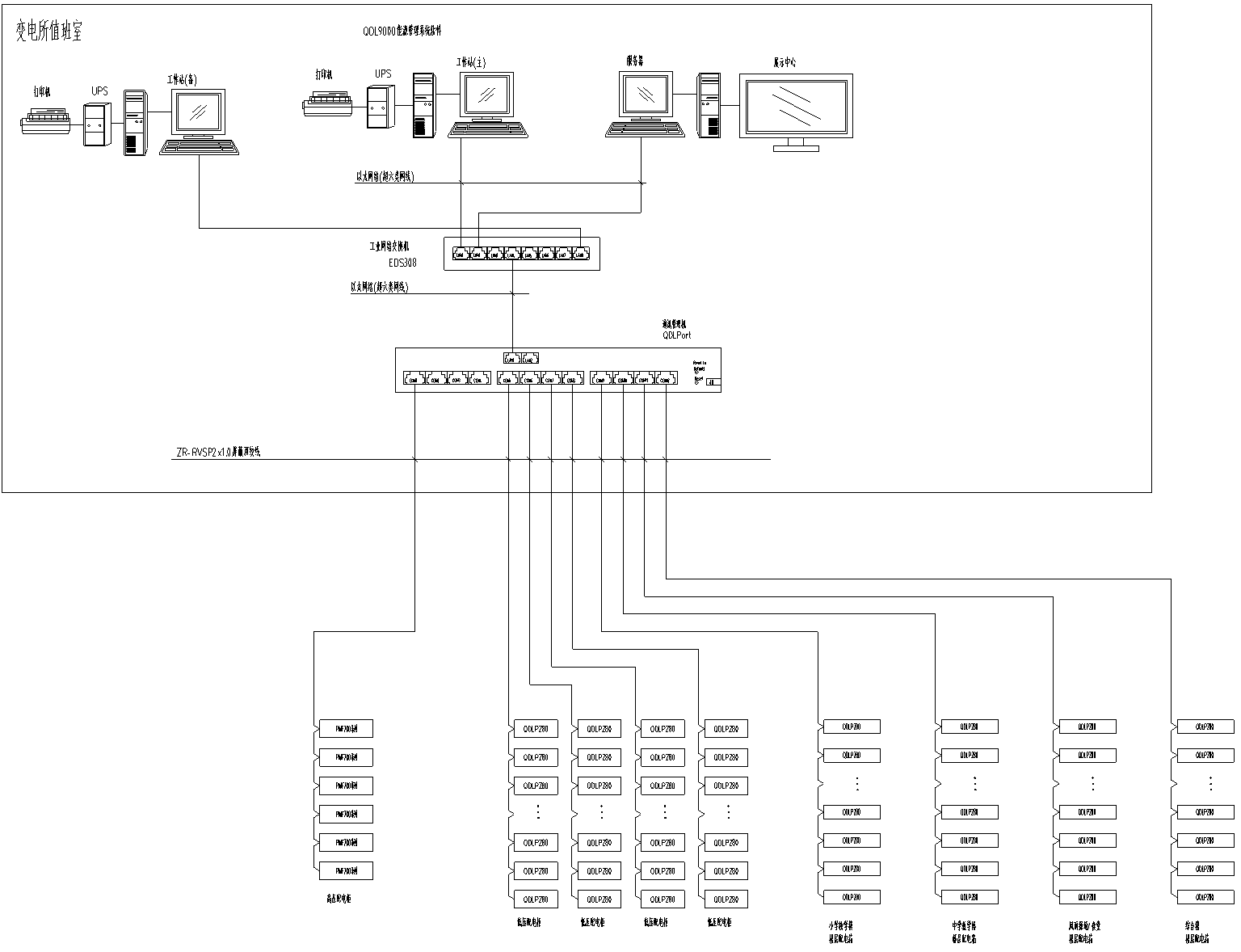
6.某初中教学楼电力监控系统的设计
设计图纸如下图所示。
某初中教学楼电力监控系统的设计说明:
(1)RS485总线必须采用总线的连接方式,最长距离不超过1200米。
(2)RS485上的通讯规约可以采用采用Modbus协议,也可以采用其他的开放协议做接口计算机与QDLPort采用以太网联接。
(3)QDL9000系统采用三层设计结构,分为主站层、通讯层和设备层。
(4)QDL9000系统监控软件提供数据采集状态监视、故障报警、事件记录、谐波分析、数据查询及报表打印等功能,支持单机版、双机版和复杂的多机系统;
(5)QDLPort系列通讯管理机支持最大32路下行通讯串口,并配置工业级光电隔离转换器;上行支持两路以太网;提供配置管理软件,支持MODBUS、CDT、101、103、104等三十多种数据规约。
(6)QDLPort通常一路通讯串口连接1至16台低层装置,一台16端口的通讯管理机最高可管理256台设备
(7)因二次设备厂家通信协议及设计通信接口的差异,同一485总线上接同一厂家同类型设备。
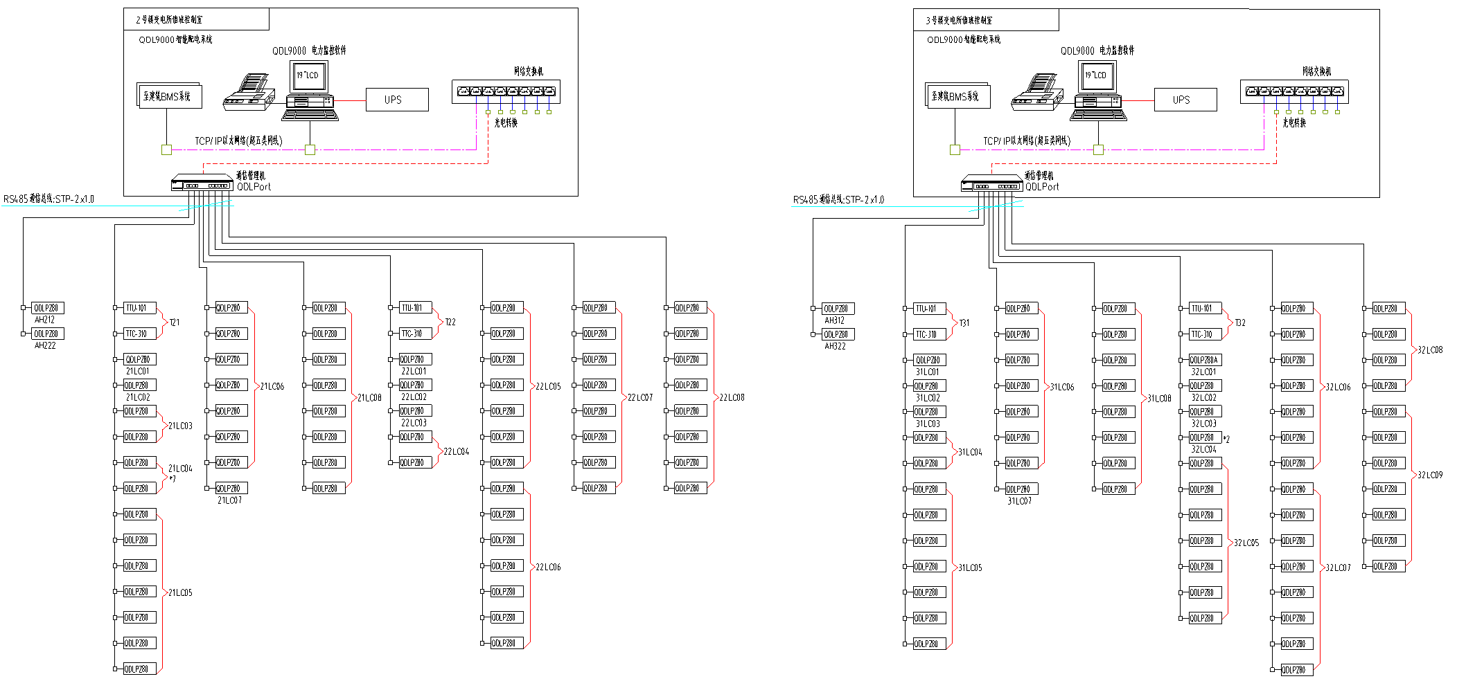
多变电所电力监控系统的设计
1.接入设备介绍
多变电所的通常是指拥有多个变电所,包含了10kV配电柜、直流屏、变压器、低压出线柜、发电机等。接入的设备如下表所示。
2.电力监控系统的设计清单
电力监控系统需要在每个变电所设置一套QDLIB数据采集箱,数据采集箱包含了QDLPort通信机、光纤收发器及各种配套的电器元件,典型的配置清单如下表所示。
3.电力监控系统的设计典型网络结构
电力监控系统的设计包含多个变电所时,网络采用光纤网络,可组成星型或环装网络,监控主机采用2台互为备份,确保数据的可靠性。典型的网路结构图如下图所示。
4.某高速公路电力监控系统的设计
(1)整体电力监控系统的设计图纸如下图所示。
某高速公路电力监控系统的设计说明:
① 本系统分为监控管理层、通信层和现场终端层。现场终端层通过各测控装置实现数据的采集处理,通信层实现数据的远程上传,监控管理层负责对数据进行存储、分析并实现人机界面的各种管理工作。
② 各现场变电所或箱变内交换机与PLC系统共用。
(2)单一的变电所电力监控系统的设计图纸如下图所示。
设计说明:
测量功能
三相电流,三相电压
有功功率,无功功率,视在功率
功率因数,频率
有功电度计量(带方向),无功电度计量(带方向)
2路DI/开关量输入
功率因数补偿功能
12路电容器投切控制,循环投切
动态跟踪负荷变化
过压、欠压、相序错及缺相报警
故障自动闭锁投切
保护功能
三相(或二相)式三段定时限过电流(速断,限时速断,过电流),(带后加速,低压闭锁,方向保护)
三段式电流保护
三相一、二次重合闸,重合闸加速段,重合闸检同期、检无压,自动捕捉同期合闸
低频减载(低压闭锁,欠流闭锁,滑差闭锁)
小电流接地选线,母线绝缘监测
过负荷告警
PT、CT断线告警
故障录波
输出事故总信号,断路器跳合位
5.某医院电力监控系统的设计
整体电力监控系统的设计图纸如下图所示。
单一的变电所电力监控系统的设计图纸如下图所示。
某医院电力监控系统的设计说明:
(1)QDL9000电力自动化监控系统遵循少人值班的原则,具有登陆操作、锁机操作、运行/编辑切换操作、打开文件列表操作、查询等多种功能,同时能够与其他系统如BAS、DCS等系统进行通信。系统采用了电力监控服务器和工程师工作站模式。
(2)QDL9000监控系统采用分层分布式结构。现场设备与通讯管理机之间的通信采用屏蔽双绞线,通讯管理机放置于每个变电站配电室内,通讯管理机与以太网交换机之间采用以太网通信.
(3)本系统须由中标专业公司深化设计后具体实施,深化图纸平面图须与原有管线综合考虑布置,系统图须与变配电中标专业厂家统筹考虑,以便柜体内设备元器件的合理布置。
6.某高校电力监控系统的设计
某高校电力监控系统的设计说明:
(1)10kV高压系统与0.4kV低压系统分别设置微机工作站,对各系统进行管理。
(2)10kV高压微机保护装置采用以太网组网;与10kV系统相关的其他智能装置一般为RS485接口,经通讯管理机接入10kV工作站。
(3)校区内0.4kV低压配电系统经过通讯网关采用以太网接入低压工作站。
(4)10kV及0.4kV微机后台系统预留远动接口,可接入上级调度管理系统。
(5)高、低压微机后台系统作为独立子系统安装在能源中心二楼电力集控室。
7.某政务办公大楼电力监控系统的设计
(1)整体电力监控系统的设计图纸如下图所示。
(2)单一的变电所电力监控系统的设计图纸如下图所示。
1#变电所网络拓扑图
2#、3#变电所网络拓扑图
4#变电所网络拓扑图
5#及10kV变电所网络拓扑图
某政务办公大楼电力监控系统的设计说明:
(1)本工程在1层变配电所值班室设置1套电能管理系统EMS。
系统采用开放的通讯协议,通过现场总线与高低压配电系统、变压器温控装置、发电机的智能接口、ATSE及EPS等相连,
实现数据通讯功能。同时监控系统提供标准的RS485接口向上连接到BMS系统。
(2)系统结构
监控系统分为:现场级控制层、站级控制层。
现场级控制层在完成保护任务的基础上,将采集和处理后的数字信息经通讯网络传输到站级控制层。
站级控制层综合现场级提供的所有信息,实现对所有一次设备的监控、测量、记录和报警功能。
(3)监控系统的功能
数据采集功能
系统由数据采集装置采集现场有关数据,包括模拟量,脉冲量及开关量,测量量,外部输入讯号等数据传至监控系统作实时处理,实时更新数据库及显示画面,并在屏幕上采用模拟图方式实时显示现场设备运行状况,显示实时和历史事件,并采用打印或报表等方式输出。为系统实现其他功能提供必需的运行信息。具体如下:
① 监控系统能完成对低压配电系统模拟量运行状态的监视,有效反映各模拟量(电流,电压,有功,无功电量等)。
进线侧三相电流;
进线侧三相电压;
系统有功功率、无功功率和视在功率;
系统有功电度和无功电度;
系统频率;
系统功率因数等;
② 监控系统能对低压配电系统内所有状态量进行有效,安全,可靠,直观的监视。
开关位置信号;
断路器位置信号。
远传控制功能
通过现场总线的形式向主站发送信息,并接受主站的控制。
远动终端向上级发送遥测量包括电流,电压,有功电能,无功电能,功率因数。
遥信量包括开关或断路器位置信号和故障信号。遥控量包括断路器或开关的分合分接头的调节。
通过主站微机的键盘,鼠标器对控制对象进行分合操作。
控制对象包括开关和断路器隔离开关的分合(跳合)操作,设备运行检修。
屏幕显示功能
监控系统能在主控机显示与实际相对应的一次主接线模拟图,显示各控制对象的运行状态并实时动态更新。
可形成实时的和历史的模拟量连续变化的趋势图,如功率负荷曲线,电压波动曲线。
系统主接线图,运行工况图,;
断路器,隔离开关状态;
实时量参数表显示;
负荷曲线图;
报警信息一览表;
电压曲线图;
电流曲线图;
监控系统配置图;
历史数据,趋势曲线;
报文显示,事件显示,值班记录;
控制系统的配置及设定值显示;
信息处理功能
监控系统能显示和记录低压配电系统中所有动作事件。
事件包括:所有报警信号;开关的操作;系统通讯状况;设备运行状况;断路器动作和状态等。
① 报表记录打印功能
系统可接收仪表所提供的带时标的数据,存储数据,并可按标准格式打印各种报表,历史数据库内容,各种曲线,各种其他事项。
② 报警功能
按系统实际需要,可任何时间在显示屏上通过弹出报警窗口方式显示最新的报警信号和提示,及时反映事故报警,并产生报警声音。
所有报警信息均存储在事件记录中,作为对该报警之事后分析依据。
电力监控系统主要功能
1.实时监视
庆德隆QDL9000电力监控系统人机界面友好,以配电一次图的形式直观显示配电线路的运行状态。系统实时监测各回路电压、电流、功率、功率因数、电能等电参数信息,动态监视各配电回路断路器、隔离开关、地刀等合、分状态,以及有关故障、告警等信号。
一次图显示各回路对应回路名称、电流、电压、总有功功率、总功率因数,断路器、地刀、隔离开关等合分位状态,弹簧储能状态、手车位置状态。
2.报警及事件
实时报警
实时报警窗口监测系统所采集的遥测量。报警窗口会在系统运行时自动打开,并一直隐藏在后台。
当有电流或者电压越限,并且触及报警界限时,“相应实时报警”窗口就会自动弹出,并以红色字体显示具体的报警信息:回路名、越限的电参量、报警值等。
历史报警
通过设置开始时间和结束时间,即可查询到过去任意时间段内的系统报警信息,包括遥测报警和遥信报警,还包括具体的报警时间,报警类型,报警内容等。
3.数据分析
报表功能
庆德隆QDL9000电力监控系统自带数据库,对采集到的电力参数进行存储和管理。
电力参数分为实时显示参数和历史参数。所有实时采集的数据、顺序事件记录等均可保存到数据库,在查询界面中能够自定义需要查询的参数、指定时间或选择查询近更新的记录数据等,并通过报表方式显示出来。
主要功能:查询各回路或者设备指定时间的运行参数,报表中显示电参量信息包括三相电流、三相电压、总功率因数、总有功功率、总无功功率、四象限电能等。电参量报表支持导出Excel格式文件,还可以根据用户要求导出PDF格式文件。
报表功能如下图所示。
曲线功能
庆德隆QDL9000电力监控系统对支持电参量曲线功能,曲线分为实时曲线及历史曲线,支持同一界面显示多条曲线并以不同颜色进行区分。曲线记录最大值、最小值及平均值,以及极值发生的时间。
曲线功能如下图所示。
4.远程控制
庆德隆QDL9000电力监控系统支持远程控制功能,在监控主机上通过管理员权限对变电所内的开关进行远程分合闸操作。
遥控功能界面如下图所示。
输入验证码,点击确认即可实现遥控功能
5.用户管理
庆德隆QDL9000电力监控系统有完善的用户管理功能,避免越权操作。
每一级权限对应相应的控制权限,最多可设置多级不同权限,并记录权限用户的操作。
管理员具有最高的权限,并可以对其他用户或者计算机的权限进行设置;
用户或者计算机被设置了权限之后只能在权限规定的范围内操作或者浏览,权限范围以外的功能都将被禁止;
所有用户的操作都将被系统日志记录下来,包括操作时间、操作类型、操作对象、操作结果等等信息。
用户管理界面如下图所示。
结束语
随着社会经济的发展,用电需求剧增,供配电安全至关重要,供配电智能化管理的需求日益增大。
本文介绍的QDL9000电力监控系统的主要功能,系统可以实现对配电室供配电回路用电的实时监控。通过智能仪表、QDLPort通信机、计算机等组成电力监控系统不仅能显示回路用电状况,还具有实时告警、故障分析、事件追忆等实用功能。在日常运维过程中,为解决用电问题提供了真实可靠的依据,取得了较好的经济效益及安全保障。













































































