宝马最新专利:可折叠全新造型方向盘!
深圳/教育工作者/3年前/126浏览
版权
宝马最新专利:可折叠全新造型方向盘!
近日,宝马又申请了一项全新的专利,该专利为“带有角度抓握元件”的全新样式方向盘

产业的发展离不开CMF(色彩、材料、工艺)
CMF设计军团成立了汽车CMF(色彩、材料、工艺)行业交流群,目前已有众多主机厂及供应链企业加入,加群主“CMF20200215”,备注“汽车CMF”,加入技术交流群,与行业专家一起交流!
最近,宝马的专利及一些新技术频出,大家可以点击下面文章查看详情:
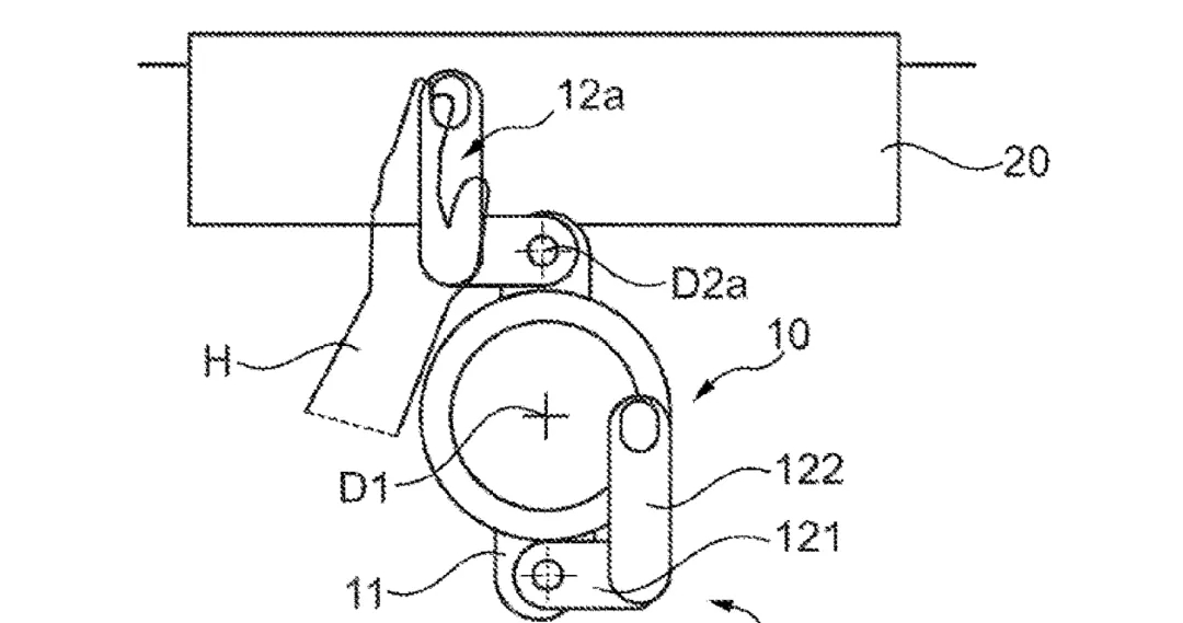
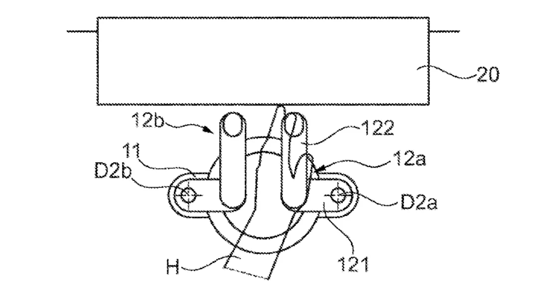
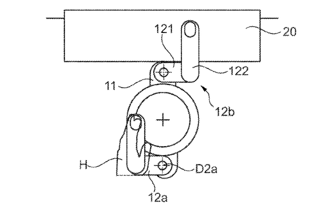
而近日,宝马又申请了一项全新的专利,向美国专利商标局(USPTO)提交了一份全新的专利申请图,从附件中可以看到,宝马申请的该专利为“带有角度抓握元件”的全新样式方向盘。设计新奇有趣,创意十足,让业内为之惊叹。

该方向盘仅有两个手柄,且无论向哪种角度旋转,其手柄依旧指向上方。






当驾驶员不使用方向盘或者车辆进入到自动驾驶的状态时,两个手柄可以向内进行折叠,尽可能减少占用的空间。外媒报道称,在这种情况下,转向控制装置也可以缩回,不过目前的专利中并未提及到这一点。




每一个手柄上端还有一个小的触控屏幕,上面设置有常用的快捷按键。


不过,宝马这种设计并不一定会应用到现实车型中。目前官方还没有准确的消息,但即便这样的方向盘不会量产,也不否认这是一个大胆且超酷的想法。据悉这项技术也同样在德国和中国进行了专利申请,让我们拭目以待!
* 素材来自网络新闻,部分图片来自创下一个新
2022年CMF设计研修班,课程计划已发布:
来自行业专业导师讲授CMF专业内容。欢迎报名学习专业CMF设计课程。
详情请点击: 开始申请|2022年CMF学习计划







1
4
Share
相关推荐
in to comment
Add emoji
喜欢TA的作品吗?喜欢就快来夸夸TA吧!
You may like
相关收藏夹
Log in
1Log in and synchronize recommended records
4Log in and add to My Favorites
评论Log in and comment your thoughts
分享Share














































































